


Epidemiology
Most common tumor of hand
- female > male
- 2nd - 4th decade
Etiology
Unknown
Location
Dorsal
- 70 - 80%
- scapho-lunate ligament
Volar
- 10 - 20%
- scapho-lunate ligament / STT joint
Retinacular - along flexor sheaths, A1 / A2 pulley
Mucoid cyst - associated with DIPJ OA and osteophyte
Clinical
Most asymptomatic and fluctuate in size

Pathology
Cyst cavity lined by epithelium
Contents - viscous mucin / hyaluronic acid
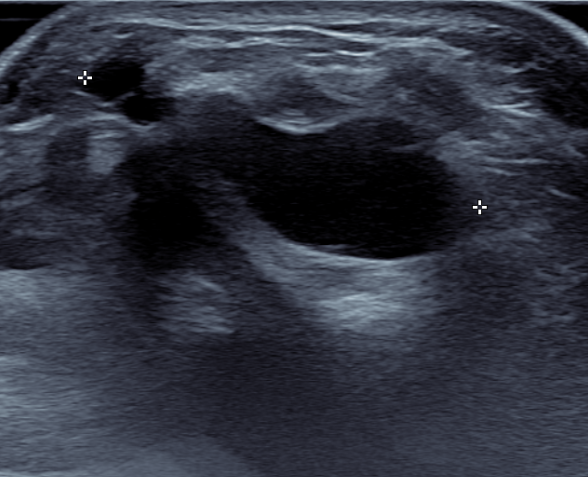
Ultrasound


Volar ganglion with radial artery superficial to ganglion
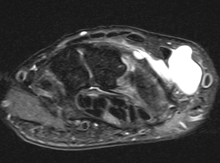
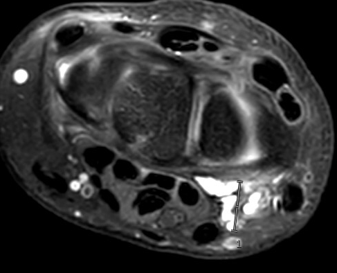
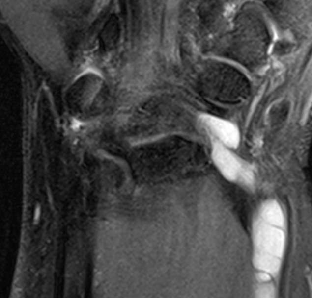
MRI
Dorsal ganglion



Dorsal ganglion arising from scapholunate joint



Dorsal ganglion arising from scapho-lunate joint
Volar ganglion






Nonoperative management
Natural history
Dias et al J Hand Surg Eur 2007
- 60% (23/55) of dorsal ganglion resolved spontaneously
Dearden et al J Hand Surg Am 2023
- 157 ganglion in children < 18
- 60% resolved spontaneously
Aspiration + cortisone injection
Gregoire et al Orthop Traumatol 2022
- 85 dorsal ganglions treated with aspiration + cortisone
- 73% recurrence at 3 years
- 43% of non injected 14 ganglion cyst resolved spontaneously by 3 years
Operative management
Concept
Excision of ganglion (open versus arthroscopic)
- find neck and dissect down to capsule
- excise capsular window
Dorsal scapho-lunate ligament ganglion
Open excision technique


Vumedi open excision dorsal ganglion video
Dorsal approach over 3/4 compartment / Lister's tubercle
- transverse incision
- open extensor retinaculum
- between 3rd and 2nd compartment
- excise cyst / neck / dorsal capsule
- dissect off the scapholunate ligament
- leave capsule open to avoid stiffness
Arthroscopic excision technique
Vumedi arthroscopic excision dorsal ganglion video
Vumedi arthroscopic excision dorsal ganglion video 2
Results
Open excision
- 3 surgeons and open excision 628 ganglion
- recurrence rate dorsal: 4%
- recurrence more common in males and less experienced surgeons
Open versus arthroscopic excision
Kang et al J Hand Surg Am 2008
- RCT of 72 patients open v arthroscopic excision of dorsal wrist ganglion
- recurrence arthroscopic: 11%
- recurrence open: 9%
Crawford et al J Hand Surg Eur 2018
- systematic review of open v arthroscopic excision of dorsal wrist ganglion
- recurrence rate arthroscopic: 9%
- recurrence rate open: 20%
Volar STT ganglions
Open excision technique
Youtube open excision volar ganglion video
Volar approach
- between FRC and radial artery
- radial artery at risk
- radial artery variable location relative to cyst
- can use ultrasound to identify radial artery location
- remove cyst + stalk
- resect small capsular window
Arthroscopic excision technique
Vumedi arthroscopic resection volar ganglion video
Results
Open
- 3 surgeons and open excision 628 ganglion
- recurrence rate volar: 4%
- recurrence more common in males and less experienced surgeons
Arthroscopic
Fernandes et al Hand Surg 2014
- systematic review of arthroscopic excision of 232 volar hand ganglions
- recurrence rate 6%
- complication rate 7%
- 3 dorsal radial nerve injuries
- 2 partial median nerve injuries
- 2 radial artery injuries